Collection of Patents on Safe Drilling Technologies in Permafrost Regions (10 Patents), focusing on the innovative achievements of the project research, the project team has applied for 10 invention patents. The main patent content descriptions are as follows:
(1) Low-Temperature Thickening Instrument for Cement Slurry in Cementing: This instrument enables the testing of the low-temperature thickening performance of cement slurry at room temperature, preventing data distortion or rapid solidification during the thickness test of low-temperature cement slurry at room temperature;
(2) High-Speed Mixer for Negative-Temperature Cement Slurry in Cementing: This mixer prevents rapid solidification of low-temperature cement slurry during mixing, enabling the preparation of low-temperature cement slurry at room temperature;
(3) Soil Powder Grinding and Sieving Machine: This is a small-sized soil sample grinding and sieving machine used for sample preparation in geotechnical mechanics experiments. It features a simple structure, easy operation, and ease of cleaning;
(4) Low-Temperature Water Loss Instrument for Cement Slurry in Cementing: This instrument effectively solves the problem of cement not solidifying and lacking strength due to the freezing of the liquid phase of conventional cement slurry in negative-temperature environments. It addresses issues such as poor cementing quality in low-temperature permafrost areas or even the inability to perform cementing operations, meeting the needs of cementing construction in permafrost areas;
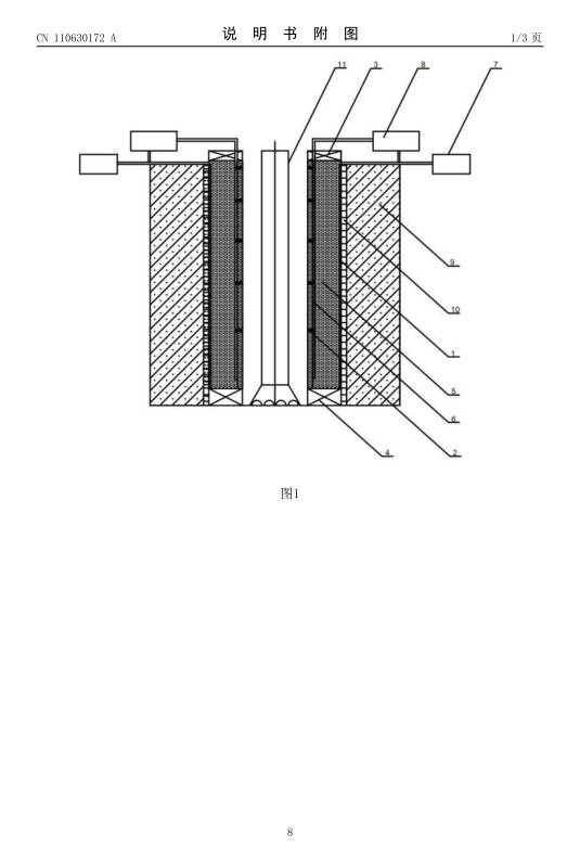
(5) Heat-Resistant and Anti-Melting Device for Drilling in Permafrost Layers: This device meets the requirements for casing insulation during medium-deep well drilling in permafrost areas;
(6) Cementing Method in Permafrost Areas: This method effectively resists heat in permafrost areas, ensuring that the frozen soil does not undergo freeze-thaw cycles during drilling in the layers below the permafrost, thus ensuring the safety of cementing;
(7) Device and Method for Preparing Frozen Soil Cores: This device applies different compressive forces to loose frozen soil to simulate different depths of frozen soil layers. Through inverse calculation, a series of parameters such as porosity, water content, and water saturation of the soil can be determined, allowing for the determination of a correct and reasonable soil-water ratio and the preparation of saturated frozen soil cores.
| collect time | 2016/07/01 - 2020/12/31 |
|---|---|
| collect place | Beijing |
| data size | 3.9 MiB |
| data format | |
| Coordinate system |
ndependently Developed.
By applying different compressive forces to loose frozen soil to simulate different depths of frozen soil layers, a series of parameters such as porosity, water content, and water saturation of the soil can be determined through inverse calculation. This allows for the determination of a correct and reasonable soil-water ratio and the preparation of saturated frozen soil cores.
The data quality is relatively good.
| # | number | name | type |
| 1 | 2016YFC0303300 | National key R & D plan |
This work is licensed under a
Creative
Commons Attribution 4.0 International License.
| # | title | file size |
|---|---|---|
| 1 | _ncdc_meta_.json | 4.7 KiB |
| 2 | Data |
Frozen soil layer Cement Slurry in Cementing Rheological Properties Optimization of Cement Slurry Properties
©Copyright 2005-. Northwest Institute of Eco-Environment and Resources, CAS.
Donggang West Road 320, Lanzhou, Gansu, China (730000)

